 Apple sta realizzando una nuova tastiera touch screen.
Apple sta realizzando una nuova tastiera touch screen.
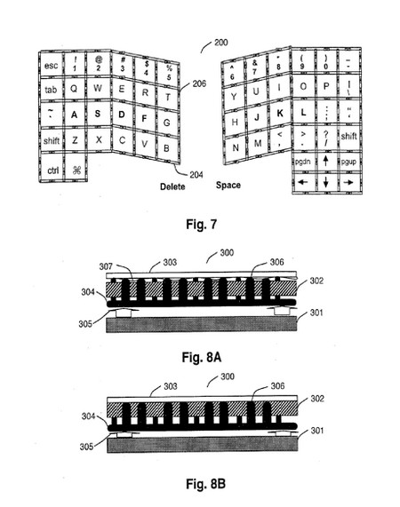
Da Apple Insider la notizia del brevetto della nuova tastiera di casa Apple; il sito si sofferma anche sulle sue caratteristiche tecniche.
L’uso più diretto e mirato rimane sicuramente il settore del consumer, in particolare del mobile.
